|
![]() |
Luxembourg |
![]() |

Appareil médical d'électrothérapie - MEDICO - Elektrotherapiegerät ELECTRO - VOX (Made in Luxembourg)
développé par l'ingénieur Ferdinand Poos (Collection: industrie.lu)
| Historique - Geschichtlicher Überblick |
| <=1934 | ELECTRO-VOX Fondation par - Gründung durch: |
| 6.1934 | Electro-Vox, Ferd. Poos, Spezialfirma für Kino- und Tonfilm Kino- und Tonfilm-Anlagen |
| 17.7.1935 | Brevet d'invention N° 21653 - Appareil électro-thérapeutique à faible consommation (dénommé Electro-Vox) POOS Ferdinand, Luxembourg |
| 9.1935 | Ingenieur F. Poos - Stand 29 auf der VI. internationalen Radio-Ausstellung im Volkshaus in Luxemburg Radio-Empfänger Electro-Vox, mit europäischen Lampen und stiftlosem Sockel equipiert, Schattenanzeiger mit neuester Skala und der rezenten Wellenverteilung. Die Skala zeigt 90 Stationennamen auf. Elektrischer Heilapparat 600 Fr |
| 9.1935 | Elektrischer Electro-Vox Heilapparat - Kasten gebaut in der Schreinerwerkstatt Diesel - Neu, Strassen (LW: 5.9.1935) |
| 1935 | Etablissements Electro-Vox, Radios et Cinémas parlants |
| 10.4.1946 | Elektrischer Electro-Vox Apparat vom "Service de l'Electrification Générale" (Ingenieur M. Schintgen) zum Verkauf zugelassen |
| <=1947 1948/49 |
20 rue Neyperg |
![]() Ferdinand Poos, ingénieur - Electro-Vox, 20 rue Neyperg, Luxembourg - Facture de 1947 (Collection: industrie.lu) |
|
| 12.6.1950 | Adresseänderung: ELECTRO-VOX 17, Bld Dr Charles Marx, Luxembourg |
| 1957 | ![]() |
| <=1957 |
Fabrique en France |
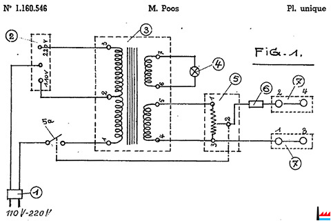
| 3.3.1958 | ![]() MEDICO - Brevet d'invention français 1.160.546 |
| >=1962 | Ferdinand Poos, Ingénieur E.I.L. fabrique des appareils électro-thérapeutiques Medico 17, Bld Dr Charles Marx, Luxembourg |
![]() ![]() |
|
| ? | Arrêt de la production |
| Produits - Produkte |

Standard MEDICO - Luxusausführung mir mehrfarbenem Plastiküberzug (Photos: Ilona Sülzen)

MEDICO
(Scan: Bernard Petitdant)

Fabrique en France (Photo: Bernard Petitdant)
MEDICO
Jean-Pierre Schmitt
6 rue du 11 Novembre
Hayange (France)


Brevet d'invention français 1.160.546 - 3.3.1958 MEDICO
(Scan: Bernard Petitdant)

Courrier Appareils électro-thérapeutiques MEDICO, Luxembourg - Hayange - 20.2.1957 (Scan: Bernard Petitdant)

FNR - Fabrique nationale radioélectrique, Bruxelles
94 Stationen
5 Lampen: 1350 Fr
6 Lampen: 1850 Fr
Electro-Vox, Ferd. Poos, Ing.
Neypergstraße 20
Luxembourg-Gare, Tél: 6190 (Pub: LW: 14.5.1935)

Electro-Vox - ELECTROVOX-RADIO - 1935 (Dans: Livre d’Adresses du Grand-Duché de Luxembourg
Commercial, Industriel et Touristique
1re édition)
| Bibliographie | |||||||
| Titel - Titre |
|
|
|
|
|
|
|
![]() |
Livre d’Adresses du Grand-Duché de Luxembourg Commercial, Industriel et Touristique 1re édition |
J. de HAI-KHIAT, éditeur-directeur | 1935 | Ste des Editions internationales « Le Progrès » Amsterdam 31, avenue de l’Arsenal, Luxembourg Imprimerie de la Gare Fr. Bourg-Bourger, Luxembourg |
752 | ||
| Liens / Links |
| Elektrobetrieber zu Lëtzebuerg - Ateliers électriques au Luxembourg - Elektrobetriebe in Luxemburg |
| Radio & Télévision au Luxembourg - Radio und Fernsehen in Luxemburg |
This is not the official page of this company / person. Any information or picture completing these pages is welcome! For more information just send us an e-mail. Ceci n'est pas la page officielle de cette firme / personne. Toute information ou photo pouvant compléter ces pages est la bienvenue! Pour des informations supplémentaires, veuillez nous envoyer simplement un e-mail. Dies ist nicht die offizielle Seite dieser Firma / Person. Jede Information oder jedes Foto, welche(s) diese Seiten vervollständigen, ist herzlich willkommen! Für mehr Informationen, senden Sie uns einfach eine E-mail. |
Created by / Créé par / Copyright: jmo |